Your current location:
Home
>
Product Center
>
SeamClamp
Product Center
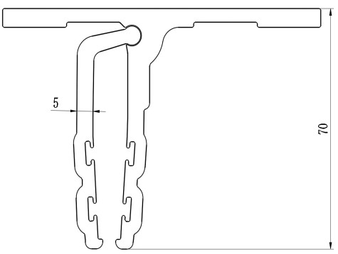
TSD-MH-ZL39

All Sizes:
size1
Product Photos:

Camera Angles1 Camera Angles2

